
بررسی پتنت یا اختراع: ساختار بلندگو (Speaker Structure)
این مقاله به بررسی یک پتنت مرتبط با ساختار بلندگو میپردازد که به نام مخترعان Yumi Shimada، Katsumasa Kosuge و Hiroyuki Shibakusa (همگی از شهر هاماماتسو، ژاپن) و به نمایندگی از شرکت Yamaha Corporation ثبت شده است.
این پتنت یک ساختار بلندگوی تکی را توصیف میکند که شامل دو محفظه (Enclosure)، یک صفحه جداکننده (Partition Plate) و یک پورت باسرفلکس (Bass Reflex Port) است.
در این ساختار، صفحه جداکننده دارای یک سوراخ ارتباطی بین دو محفظه است که امکان تبادل آکوستیکی بین آنها را فراهم میکند، در حالی که پورت باسرفلکس تنها در یکی از محفظهها قرار گرفته است. هدف اصلی این طراحی، بهبود تفکیک استریو (Stereo Separation) و پاسخ فرکانسهای پایین (Bass Response) در بلندگوهای دوکانالهای است که در قالب یک ساختار واحد طراحی شدهاند. در متن پتنت، چندین پیادهسازی (Embodiment) مختلف از این ایده بررسی شده است.
اطلاعات پتنت
عنوان: Speaker Structure
شماره پتنت / انتشار: US2019/0200134
مخترعان:
- Yumi Shimada
- Katsumasa Kosuge
- Hiroyuki Shibakusa
(همگی از Hamamatsu-shi، ژاپن)
مالک امتیاز (Assignee): Yamaha Corporation – Hamamatsu-shi, Japan
تاریخ ثبت: 21 دسامبر ۲۰۱۸
طبقهبندی CPC: H04R 1/2819 (2013-01-01)
تاریخ انتشار: 27 ژوئن ۲۰۱۹
تعداد ادعاها (Claims): 17
تعداد نقشهها: 23
چکیده پتنت (Abstract)
یک ساختار بلندگو شامل یک محفظه اول، یک محفظه دوم، یک صفحه جداکننده و یک پورت باسرفلکس است.
صفحه جداکننده دارای حداقل یک سوراخ ارتباطی است که بین محفظه اول و دوم قرار گرفته و امکان ارتباط آکوستیکی بین آنها را فراهم میکند. پورت باسرفلکس بهگونهای طراحی شده است که حداقل با یکی از محفظهها (یا هر دو) در ارتباط سیالی (Fluid Communication) قرار دارد.
ادعای مستقل (Independent Claim)
ادعای ۱:
یک ساختار بلندگو شامل موارد زیر است:
- یک محفظه اول؛
- یک محفظه دوم؛
- یک صفحه جداکننده که بین محفظه اول و دوم قرار گرفته و شامل حداقل یک سوراخ ارتباطی است که امکان ارتباط بین دو محفظه را فراهم میکند؛
- و یک پورت باسرفلکس که بهصورت سیالی با یکی یا هر دو محفظه در ارتباط است.
دیدگاه و تحلیل بازبین (Reviewer Comments)
سیستمهای استریوی دوکانالهی قابلحمل که در قالب یک ساختار واحد طراحی میشوند، بیش از هر زمان دیگری محبوب شدهاند. با توجه به کوچک بودن ابعاد این سیستمها، دو ویژگی عملکردی که تقریباً همیشه با محدودیت مواجه هستند عبارتاند از:
- تفکیک استریو
- باس عمیق
پتنت مورد بررسی ادعا میکند که با ارائه یک معماری داخلی جدید برای محفظه بلندگو، این دو مشکل را برطرف میکند. در این طرح، یک سیستم بلندگوی استریوی تکمحفظهای معرفی شده است که در آن درایورهای کانال چپ و راست از محدوده فرکانس باس تا حداقل محدوده فرکانسهای میانی فعالیت میکنند.
در متن پتنت بیان شده است که این سیستم جدید در مقایسه با نمونههای پیشین:
- به حجم کلی محفظه کمتری نیاز دارد
- و تفکیک استریوی ادراکشدهی بیشتری ارائه میدهد
پیشنهاد ویژه:
« اولین و کاملترین دوره آموزشی نرم افزار اودئون ODEON برای طراحی آکوستیک »
ثبت نام دوره آموزشی نرم افزار اودئون ODEON
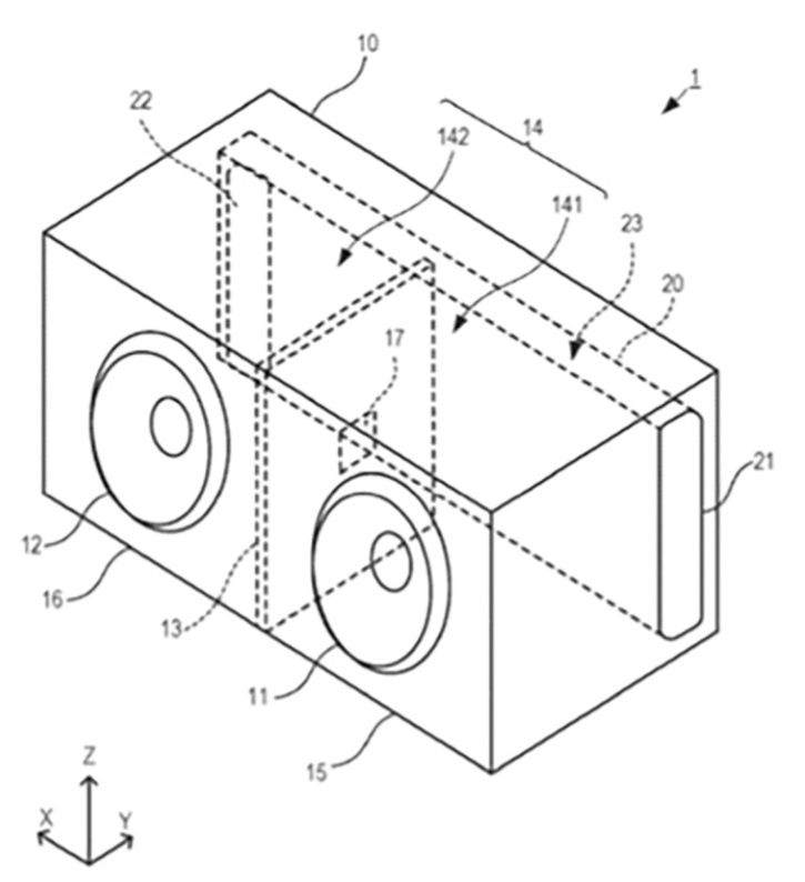
معماری کلی سیستم (شکل ۱)
همانطور که در شکل ۱ مشاهده میشود، محفظه این اختراع شامل دو زیرمحفظه مجزا برای کانال چپ و راست است که توسط یک پورت با جرم آکوستیکی کم به یکدیگر متصل شدهاند.
در نمونه نشاندادهشده، زیرمحفظه کانال چپ به یک پورت کشیده با جرم آکوستیکی بالا متصل است که در امتداد پنل پشتی سیستم امتداد یافته و در نهایت از سمت راست محفظه به محیط بیرون خروجی دارد.
شکل ۱: نمای سهبعدی از معماری پایه اختراع

عملکرد آکوستیکی سیستم
ایده مطرحشده در این پتنت این است که برای تمام فرکانسهای بالاتر از محدوده باس، سیستم محفظه بهگونهای عمل میکند که گویی دو محفظه کاملاً از یکدیگر ایزوله شدهاند و پورت بینمحفظهای وجود ندارد.
با این حال، بسته به جرم آکوستیکی پورت بینمحفظهای و کامپلاینس (Compliance) هر یک از دو زیرمحفظه، فرکانسی در محدوده باس بالایی (Upper Bass) وجود خواهد داشت که در آن پورت بینمحفظهای بهعنوان یک رزوناتور هلمهولتز تنظیم میشود.
در این فرکانس تنظیمشده:
- اگر سیگنالهای دو کانال مشترک و همدامنه باشند، نیروی وارد بر جریان هوا در هر دو محفظه برابر است و هیچ افزایش کراستاک یا تغییر قابلتوجهی در عملکرد درایورها ایجاد نمیشود.
- اما اگر در همین فرکانس، سیگنالها بین دو کانال از نظر دامنه متفاوت باشند، خروجی کانال راست بهطور افزایشی به زیرمحفظه کانال چپ تابش میشود و بالعکس، بخشی از انرژی کانال چپ در زیرمحفظه کانال راست جذب میشود.
در این حالت، هر دو درایور کمینهای در میزان جابجایی (Excursion Minimum) نشان میدهند، زیرا خروجی زیرمحفظه کانال راست از طریق پورت کشیده، از زیرمحفظه کانال چپ به بیرون تابش میشود. این فرآیند همچنین باعث ایجاد ریپل (Ripple) در پاسخ خروجی سیستم کانال چپ در نزدیکی فرکانس تنظیم بالایی میشود.
رفتار سیستم در فرکانسهای پایینتر
با کاهش فرکانسها به زیر فرکانس تنظیم پورت بینمحفظهای و ورود به محدوده باس، دو زیرمحفظه بهگونهای عمل میکنند که انگار یک محفظه بزرگ واحد هستند. تنها عامل محدودکننده در این حالت، تلفات مقاومتی پورت اتصالدهنده بین دو محفظه است.
با کاهش بیشتر فرکانس برنامه صوتی در محدوده باس عمیق، جرم آکوستیکی پورت کشیده متصل به زیرمحفظه چپ با کامپلاینس ترکیبی دو زیرمحفظه وارد تعامل میشود و یک فرکانس تشدید باسرفلکس در پایینترین محدوده فرکانسی سیستم ایجاد میکند. این تشدید باعث:
- بیشینه شدن خروجی سیستم
- و کمینه شدن جابجایی هر دو درایور کانال چپ و راست
میشود.
مقایسه با سیستمهای باسرفلکس چندتنظیمی
افرادی که این ستون را دنبال میکنند احتمالاً متوجه شدهاند که معماری استریوی این پتنت شباهت زیادی به محفظههای باسرفلکس چندتنظیمی تککاناله دارد که بهطور مفصل در بررسی پتنت ژوئن ۲۰۱۹ مورد بحث قرار گرفته بودند.
بهطور کلی، این سیستمهای دوتنظیمی این مزیت را دارند که در دو فرکانس مختلف در محدوده باس، جابجایی مخروط برای یک سطح خروجی مشخص به حداقل میرسد.
با این حال، یکی از مشکلات آنها ایجاد افت پاسخ (Dip) در نزدیکی فرکانس تنظیم بالایی است. نسخه استریوی این طراحی نیز تا حدی رفتار مشابهی از خود نشان خواهد داد.
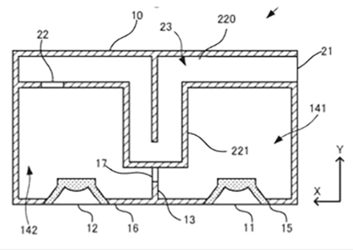
بهینهسازی پورت فرکانس پایین (شکل ۲)
شکل ۲ پیکربندیای را نشان میدهد که در آن طول پورت فرکانس پایین افزایش یافته و با تا کردن آن در فضای بین دو زیرمحفظه، فرکانس تنظیم پایینتری حاصل میشود؛ در حالی که همچنان پورت بینمحفظهای حفظ شده است.
شکل ۲: نسخه تاخورده پورت فرکانس پایین برای افزایش جرم آکوستیکی و کاهش فرکانس تنظیم

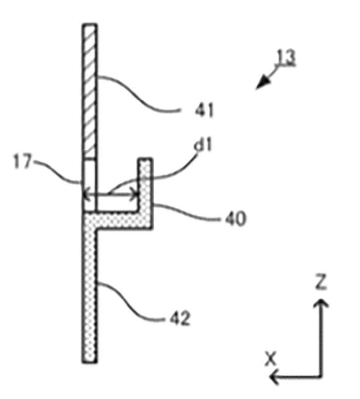
طراحی پورت بینمحفظهای با فلنج (شکل ۳)
در شکل ۳ پیکربندیای از پورت بینمحفظهای نمایش داده شده است که در جلوی آن یک فلنج بافل قرار دارد. این طراحی امکان استفاده از پورتی با قطر بزرگتر را فراهم میکند که تلفات بینمحفظهای کمتری دارد. همچنین پیشنهاد میشود که این فلنج بهعنوان یک مانع پراش عمل کرده و از ورود فرکانسهای بالا جلوگیری کند، در نتیجه تفکیک بهتری در محدوده فرکانسهای بالاتر حفظ میشود.
شکل ۳: پیکربندی پورت بینمحفظهای همراه با فلنج بافل

هدف نهایی سیستم
هدف سیستم بهطور مشخص اینگونه بیان شده است:
«ارائه یک ساختار بلندگوی کوچکابعاد که قادر باشد مؤلفههای فرکانس پایین را بهصورت کافی بازتولید کرده و در عین حال، تفکیک مؤلفههای فرکانس بالا را حفظ کند.»
پیشنهاد ویژه:
دوره آموزش ماژول آکوستیک ساختمانی نرم افزار کامسول
ثبت نام دوره آموزشی نرم افزار کامسول
جمعبندی تحلیلی
جالب خواهد بود که بررسی شود آیا حفظ جداسازی داخلی در محدوده فرکانسهای بالا واقعاً به بهبود ادراک فضایی (Subjective Spatial Performance) منجر میشود یا خیر. با این حال، این سیستم احتمالاً به هدف خود در حفظ جداسازی داخلی سیگنالهای کانال چپ و راست در فرکانسهای بالاتر از باس دست پیدا میکند.
همچنین ممکن است در مقایسه با استفاده از دو پورت فرکانس پایین مجزا (یکی برای هر زیرمحفظه)، کاهش اندکی در تلفات پورت بهدلیل استفاده از پورت فرکانس پایین مشترک مشاهده شود.
در نهایت، اگرچه این سیستم در صورت بهینهسازی مناسب میتواند عملکرد خوبی داشته باشد، اما هنوز مشخص نیست که آیا مزیت چشمگیری نسبت به سایر رویکردهای موجود برای این نوع سیستمها ارائه میدهد یا خیر.
منبع:
📄 لینک مستقیم به نسخهی رسمی پتنت در سایت Google Patents (پایگاه عمومی و رایگان متن کامل پتنت):
👉 https://patents.google.com/patent/US20190200134A1/en